Tietoja PTC:stä
PTC on lyhenne sanoista Positive Temperature Coefficient, ja se viittaa yleensä puolijohdemateriaaliin tai komponentteihin, joilla on suuri positiivinen lämpötilakerroin. Yleensä kun mainitsemme PTC:n, tarkoitamme positiivisia lämpötilakerrointermistoreja, jotka tunnetaan yleisesti PTC-termistoreina. PTC-termistorit ovat puolijohdevastusten tyyppi, jolla on lämpötilaherkkyys, ja kun lämpötila ylittää tietyn kynnyksen (Curie-lämpötila), niiden vastus kasvaa äkillisesti lämpötilan noustessa.
Organisaation rakenne ja toimintaperiaate
Keraamisia materiaaleja käytetään yleisesti erinomaisina eristeinä, joilla on korkea vastus. Keraamiset PTC-termistorit on valmistettu käyttämällä bariumtitanaattia pohjana ja seostettu muilla monikiteisillä keraamisilla materiaaleilla, mikä johtaa pienempään vastukseen ja puolijohdeominaisuuksiin. Tämä saavutetaan lisäämällä tarkoituksellisesti kemiallista alkuainetta, jolla on korkeampi valenssi kiteen hilapisteenä. Osa hilan bariumioneista tai titanaatti-ioneista korvataan korkeamman valenssin ioneilla, jolloin syntyy tietty määrä vapaita elektroneja, jotka edistävät sähkönjohtavuutta.
Syy PTC (Positive Temperature Coefficient) -ilmiöön eli äkilliseen resistanssin nousuun on materiaalin organisoinnissa, joka koostuu monista pienistä mikrokiteistä. Näiden kiteiden rajapinnoille, jotka tunnetaan raerajoina, muodostuu esteitä, jotka estävät elektronien liikkumisen viereisille alueille. Tämän seurauksena vastus kasvaa. Tämä vaikutus tasaantuu matalissa lämpötiloissa korkean dielektrisyysvakion ja spontaanin polarisaatiovoimakkuuden ansiosta raerajoilla, mikä estää esteiden muodostumisen ja mahdollistaa elektronien vapaan virtauksen. Kuitenkin korkeissa lämpötiloissa dielektrisyysvakio ja polarisaatiolujuus pienenevät merkittävästi, mikä aiheuttaa esteiden ja vastuksen kasvavan jyrkästi, mikä osoittaa vahvan PTC-vaikutuksen.
PTC-termistorien valmistusprosessi
Punnitus ja sekoitus: Materiaalit, kuten bariumkarbonaatti, titaanidioksidi ja muut lisäaineet, punnitaan ja sekoitetaan tarkasti vaadittujen sähköisten ja lämpöominaisuuksien saavuttamiseksi.
1. Märkäjauhatus: Seos käy läpi märkäjauhatuksen tasaisen tahnan muodostamiseksi.
2. Kuivaus ja kuivaus: Sitten tahna kuivataan ja kuivataan ylimääräisen kosteuden poistamiseksi.
3. Kuivapuristus: Kuivattu materiaali kuivapuristetaan erilaisiin muotoihin, kuten kiekkoiksi, suorakulmioiksi, renkaiksi tai kennorakenteiksi.
4. Sintraus: Puristetut aihiot sintrataan korkeassa lämpötilassa (noin 1400 astetta) keraamisten komponenttien muodostamiseksi.
5. Elektrodin käyttö: Keraamisten komponenttien pinnalle asetetaan elektrodeja, jotta ne johtaisivat.
6. Resistanssilajittelu: Komponentit läpikäyvät vastuslajittelun niiden luokittamiseksi niiden vastusarvojen perusteella.
7. Johdinliitos: Lopputuotteen rakenteesta riippuen langat liitetään komponenttien liittämiseksi.
8. Eristeen kapselointi: Komponentit on suojattu eristysmateriaalilla.
9. Kokoaminen: Komponentit kootaan ja tarvittaessa asetetaan suojakoteloihin.
10. Jännitteenkestotestaus: Kootuille PTC-termistoreille tehdään jännitetestaus niiden sähköturvallisuuden varmistamiseksi.
11. Resistanssitestaus: PTC-termistorien resistanssi tarkistetaan niiden suorituskyvyn varmistamiseksi.
12. Lopullinen testaus: Kattava testaus suoritetaan PTC-termistorien yleisen toiminnan arvioimiseksi.
13. Pakkaus: Testatut ja hyväksytyt PTC-termistorit pakataan lähetystä varten.
14. Varastointi: Pakattuja PTC-termistoreita säilytetään sopivassa ympäristössä, kunnes niitä levitetään tai käytetään erilaisiin sovelluksiin.
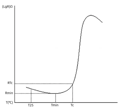
RT:n ominaisuus
PTC-termistoreilla on lämpötilasta riippuvainen suhde resistanssin ja lämpötilan välillä, joka tunnetaan yleisesti Resistance-Temperature (RT) -ominaisuutena. RT-ominaisuus kuvaa PTC-termistorin nollatehovastuksen riippuvuutta sen lämpötilasta tietyllä jännitteellä.
Nollatehovastus viittaa PTC-termistorin resistanssiarvoon mitattuna tietyssä lämpötilassa, erittäin pienellä teholla, niin pienellä, että tehohäviön aiheuttama resistanssin muutos voidaan jättää huomiotta. Nimellinen nollatehovastus edustaa arvoa, joka on mitattu 25 asteen ympäristön lämpötilassa.
-
Rmin: pienin vastus
-
Tmin: Lämpötila Rmin
-
Rtc: 2 kertaa Rmin
-
Tc:

Keskeinen RT-käyrän laatua kuvaava parametri on lämpötilakerroin ( ), joka heijastaa RT-käyrän jyrkkyyttä. Korkeampi lämpötilakerroin ( ) osoittaa, että PTC-termistori on herkempi lämpötilan muutoksille, mikä johtaa selvempään PTC-vaikutukseen. Toisin sanoen korkeampi lämpötilakerroin tarkoittaa parempaa suorituskykyä ja pidempää PTC-termistorin käyttöikää.
PTC-termistorin lämpötilakerroin ( ) määritellään lämpötilan muutoksen aiheuttamana resistanssin suhteelliseksi muutokseksi. Se voidaan laskea kaavalla:=(log(R2) - log(R1)) / (T2 - T1)
Yleensä T1 on Tc + 15 astetta ja T2 Tc + 25 astetta, missä Tc on PTC-termistorin Curie-lämpötila.
VI Ominaisuus
Jännite-virta-ominaisuus (VI), joka tunnetaan myös nimellä virta-jännite-ominaisuus tai yksinkertaisesti VI-ominaiskäyrä, kuvaa jännitteen ja virran keskinäistä riippuvuutta PTC-termistorissa, kun se saavuttaa lämpötasapainon sähköisen kuormituksen alaisena.
-
Ik: Käyttövirta jännitteellä Vk
-
Ir: Vikavirta, kun Vmax on käytössä
-
Vmax: Suurin jännite
-
VN: Normaali jännite
-
VD: Breakdown Voltage

PTC-termistorin VI-ominaisuus voidaan yleensä jakaa kolmeen alueeseen:
Lineaarinen alue (0-Vk): Tällä alueella jännitteen ja virran välinen suhde noudattaa Ohmin lakia, eikä siinä ole merkittävää epälineaarista vaihtelua. Se tunnetaan myös ei-toiminta-alueena, koska PTC-termistorin resistanssissa ei ole havaittavia muutoksia.
Siirtymäalue (Vk-Vmax): Tällä alueella, joka tunnetaan siirtymä- tai kytkentäalueena, PTC-termistorin resistanssi muuttuu nopeasti itsekuumenemisen vuoksi. Kun jännite kasvaa, virta pienenee, jolloin PTC-termistori siirtyy matalavastuksen tilasta suuren resistanssin tilaan. Tätä aluetta kutsutaan myös toiminta-alueeksi.
Häiriöalue (VD ja enemmän): Tällä alueella, joka tunnetaan nimellä vika- tai laukaisualue, virta kasvaa jännitteen kasvaessa. PTC-termistorin resistanssi pienenee eksponentiaalisesti, mikä johtaa suurempiin virtoihin korkeammilla jännitteillä. Tämän seurauksena PTC-termistorin lämpötila nousee, mikä johtaa resistanssin edelleen laskuun. Lopulta tämä voi aiheuttaa lämpöhäiriön tai PTC-termistorin laukeamisen.
VI-ominaisuus on tärkeä referenssi PTC-termistoreiden ylivirtasuojalle. Se auttaa määrittämään termistorin käyttäytymisen eri jännite- ja virtaolosuhteissa varmistaen tehokkaan suojan liiallista virtaa vastaan.
Tt Ominaisuus
Virta-aikaominaisuus viittaa PTC-termistorin ominaisuuteen, jossa virta muuttuu ajan myötä jännitteen kohdistamisen aikana.
Kun PTC-termistoriin syötetään alun perin jännite, senhetkistä virtaa kutsutaan käynnistysvirraksi. Kun PTC-termistori saavuttaa lämpötasapainon, jäljelle jäävää virtaa kutsutaan jäännösvirraksi.
Tietyssä ympäristön lämpötilassa, kun alkuvirta (varmistetaan, että se on käyttövirta) syötetään PTC-termistoriin, aikaa, joka kuluu virran laskemiseen 50 %:iin käynnistysvirrasta, kutsutaan vasteajaksi tai vasteaikavakioksi. Virta-aikaominaisuus on tärkeä referenssi PTC-termistorien erilaisille sovelluksille, kuten automaattiselle demagnetoinnille, viivästetylle käynnistykselle ja ylikuormitussuojaukselle.






